Форум клуба электриков
Главная Форум
Оборудование
Электрооборудование, электротехника
Создать новую тему Информация О форуме Помощь и справка Тех.поддержка Расширения и моды phpBB3 и phpBB 3.1.x Новое в новостях и статьях Биржа строительных услуг и заказов Оборудование Электроустановочные изделия Каталог производителей Электрооборудование, электротехника Интернет-магазин Стабилизаторы напряжения Сварочные аппараты Инверторы Аккумуляторы Стойки коммутационные Учет электроэнергии Электроинструмент, КИП Слаботочка Радиотехника, электроника Автотехника, автоэлектрика Электрика Электромонтаж в квартире Электромонтаж на даче, коттедже, бане Электромонтаж в нежилых помещениях Заземление, зануление, молниезащита Фото/видео отчёты по электромонтажу Вопросы от чайников Своими руками Общие темы по электрике Техническая зона Документация по электрике Схемы по электрике Программы по электрике Электропроектирование Библиотека электрика Ваш репетитор - теория Курилка Флейм Новости, статьи, публикации Поздравления Предлагаю услуги Тематические форумы нашей сети Форум электриков «ЭлектроСила» Форум строителей и дачников «Stroi Help» Форум «Audio Hi-Fi» ЭлектроЧайник Закрытые форумы Архив
Обсуждение электрооборудования: стабилизаторы, генераторы, инверторы, солнечные панели, ИБП, UPS, аккумуляторы, конвекторы, котлы, ТЭНы, насосы, вентиляторы, электродвигатели, трансформаторы, ВРУ, АВР, щитовое, сварочное, лифтовое оборудование, бытовая техника и т.д.
Правила форума
Dizzel Автор темы
Участник
Сообщений: 20
Зарегистрирован: 14 янв, 2012 15:16 Возраст: 29
Имя: Байрам
Откуда: Узбекистан
Сообщение Dizzel » 14 янв, 2012 15:29
Здраствуйте! Я сделал генератор трёхфазный. Генератор из двигател. Он падает напряжение, А,В,С фаза работает. Но, потом сама собой крутится начинает. Изменит место катушки или... Ваше совет.
Dizzel
Сообщение Похожие темы » 14 янв, 2012 15:29
Посмотрите здесь:
Генератор 3.9-4.5-5 квт..?
Здраствуйте! Скажите , я видел генератор(электродвигатель) на три положения: 3.9-4.5-5 квт и 950-1400-2850 об/м. Для подключения...
Генератор и ноль
Такой вопрос - много и на форуме написано и вообще в инете, но тем не менее точного ответе нет, суть вопроса- частный дом ,...
Искрит генератор УГБ 6000 Е
Раз в 30-60 секунд проскакивает мощная 2-ух сантиметровая искра между генератором и рамой, пробовал заземлить и корпус и сам...
sergey_sav
Лидер тех. поддержки
Генеральный директор
Сообщений: 4311
Зарегистрирован: 04 июн, 2007 13:10 Возраст: 58
Имя: Сергей
Пол: Мужской
Откуда: Санкт-Петербург
Разрешение экрана: 1440x900 Благодарил (а): 26 раз
Поблагодарили: 394 раза
Сообщение sergey_sav » 14 янв, 2012 19:21
Форум будет признателен за грамотную формулировку вопроса.
sergey_sav
Dizzel Автор темы
Участник
Сообщений: 20
Зарегистрирован: 14 янв, 2012 15:16 Возраст: 29
Имя: Байрам
Откуда: Узбекистан
Сообщение Dizzel » 14 янв, 2012 19:24
Не понял?
Dizzel
slavapril
Заслуженный Ректор клуба
Главный энергетик
Сообщений: 2385
Зарегистрирован: 09 окт, 2010 9:31 Возраст: 44
Имя: Вячеслав
Профессия: Электромеханик
Пол: Мужской
Откуда: Липецкая обл.
Разрешение экрана: 962x553 Благодарил (а): 27 раз
Поблагодарили: 357 раз
Сообщение slavapril » 14 янв, 2012 19:52
Уважение всяк приходящему
, но, честно сказать, по-русски не совсем ясно. Сам двигатель чем в движение приводится?
И что вы там с катушкой делать хотите - не совсем понятно. Еще раз напишите попонятнее
Учиться никогда не поздно.Все тематические вопросы и ответы на них, только на форуме! В личку по электрике не отвечаю.
slavapril
FRIM@N
Энергетик
Сообщений: 541
Зарегистрирован: 14 янв, 2011 20:18 Возраст: 30
Имя: Дмитрий
Профессия: Электромонтер
Разрешение экрана: 1280x1024 Благодарил (а): 5 раз
Поблагодарили: 21 раз
Сообщение FRIM@N » 14 янв, 2012 20:25
Двигатель был асинхронный?
FRIM@N
Dizzel Автор темы
Участник
Сообщений: 20
Зарегистрирован: 14 янв, 2012 15:16 Возраст: 29
Имя: Байрам
Откуда: Узбекистан
Сообщение Dizzel » 14 янв, 2012 20:51
Двигател 3квт 1000об/м. Ранше он был в моем станке. Как поставим фото?
Dizzel
Anatoliy
Гуру тех. поддержки
Главный энергетик
Сообщений: 2581
Зарегистрирован: 06 янв, 2010 6:57 Возраст: 59
Имя: Анатолий
Профессия: Пенсионер
Пол: Мужской
Откуда: Украина. Киев
Разрешение экрана: 1280x1024 Благодарил (а): 25 раз
Поблагодарили: 404 раза
Сообщение Anatoliy » 15 янв, 2012 12:56
Подберите правильно конденсаторы что бы не было самовозбуждения
Все тематические вопросы и ответы на них, только на форуме! В личку по электрике не отвечаю.
Anatoliy
Dizzel Автор темы
Участник
Сообщений: 20
Зарегистрирован: 14 янв, 2012 15:16 Возраст: 29
Имя: Байрам
Откуда: Узбекистан
Сообщение Dizzel » 15 янв, 2012 15:51
Ммм. Да. Хорошо. Вы непонили меня. Закрываем этот тема
Dizzel
миш
Почётный член клуба
Главный энергетик
Сообщений: 2245
Зарегистрирован: 12 мар, 2009 17:08 Возраст: 48
Имя: Миша
Профессия: Электрик
Пол: Мужской
Откуда: г. Владимир
Разрешение экрана: 360x640 Благодарил (а): 293 раза
Поблагодарили: 140 раз
Сообщение миш » 15 янв, 2012 16:35
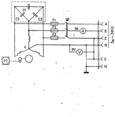
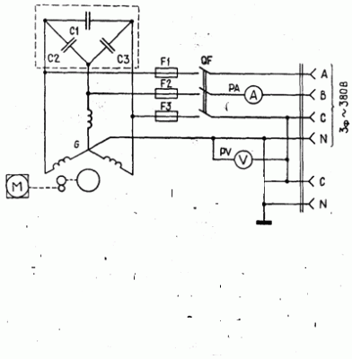
Anatoliy писал(а): Подберите правильно конденсаторы что бы не было вамовозбуждения
вы имели ввиду эти кондеры с1-с2-с3и мне кажется вы правы.
Вложения
Электричество может поджарить ваш ужин, но так же оно может поджарить и вас... Не рекомендую пробовать.Все тематические вопросы и ответы на них, только на форуме! В личку по электрике не отвечаю.
миш
Dizzel Автор темы
Участник
Сообщений: 20
Зарегистрирован: 14 янв, 2012 15:16 Возраст: 29
Имя: Байрам
Откуда: Узбекистан
Сообщение Dizzel » 15 янв, 2012 19:24
Вот смотритеДобавлено спустя 1 минуту 57 секунд: А это мой самоделный роторДобавлено спустя 2 минуты 18 секунд: Он падает напряжение хорошие, но, в нагрузке сама собой крутится. Почему? Вот ета не понятно мне
Вложения
Это статер.
Dizzel
Доска объявлений
Объявления на нашей доске просматриваются большим количеством посетителей, переходят из рук в руки и всегда имеют хороший отклик.
Рекомендуемый контент
Ещё страницы сайта »
5
497
Dizzel
08 апр, 2012 16:23
14
6100
nikola
01 июл, 2013 2:33
5
652
Василич
12 июл, 2011 14:37
2
281
Калямба
22 янв, 2015 13:37
16
596
elhouse
24 фев, 2013 12:41
Вернуться в «Электрооборудование, электротехника»
Кто на форуме
Сейчас этот форум просматривают: Alexa [Bot] , Bing [Bot] , Google Adsense [Bot] и 1 гость
Copyright © Форум по электрике и электричеству «Электрический Дом» 2005 - 2017
Создано на основе
phpBB ® Forum Software © phpBB Limited
Time: 0.403s |
Queries: 53 | Peak Memory Usage: 8.11 МБ
Дата запуска форума: 21.11.2005. Версия 3.1.10.