Форум клуба электриков
Главная Форум
Техническая зона
Схемы по электрике
Создать новую тему Информация О форуме Помощь и справка Тех.поддержка Расширения и моды phpBB3 и phpBB 3.1.x Новое в новостях и статьях Биржа строительных услуг и заказов Оборудование Электроустановочные изделия Каталог производителей Электрооборудование, электротехника Интернет-магазин Стабилизаторы напряжения Сварочные аппараты Инверторы Аккумуляторы Стойки коммутационные Учет электроэнергии Электроинструмент, КИП Слаботочка Радиотехника, электроника Автотехника, автоэлектрика Электрика Электромонтаж в квартире Электромонтаж на даче, коттедже, бане Электромонтаж в нежилых помещениях Заземление, зануление, молниезащита Фото/видео отчёты по электромонтажу Вопросы от чайников Своими руками Общие темы по электрике Техническая зона Документация по электрике Схемы по электрике Программы по электрике Электропроектирование Библиотека электрика Ваш репетитор - теория Курилка Флейм Новости, статьи, публикации Поздравления Предлагаю услуги Тематические форумы нашей сети Форум электриков «ЭлектроСила» Форум строителей и дачников «Stroi Help» Форум «Audio Hi-Fi» Закрытые форумы Архив
Подборка электросхем по электрике, электротехнике, электроснабжению, электроосвещению и т.д.
Правила форума
vasp Автор темы
Участник
Сообщений: 16
Зарегистрирован: 12 мар 2014, 11:27 Возраст: 22
Имя: Александр
Пол: Мужской
Откуда: Краснодар
Разрешение экрана: 1280x1024 Благодарил (а): 7 раз
Сообщение vasp » 12 мар 2014, 12:47
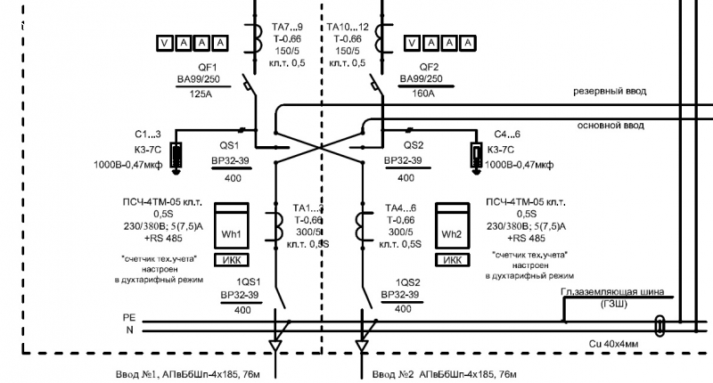
Просмотрел несколько схем, почитал ПУЭ и составил свою по которой надо собрать ВРУ в принципе собрать знаю как а вот нарисовать, буду рад принять замечания, да после учёта не поставил коммутационный аппарат.
vasp
Сообщение Похожие темы » 12 мар 2014, 12:47
Посмотрите здесь:
Что это за схема?
Вот тут недавно отыскал одну схему, но не могу понять что на ней показано:
Вроде как сеть питания(защищенная термореле) + сеть...
Схема ЩАП
Господа, помогите разобраться со схемой ЩАП-12 (однофазный, рисунок слева). .Запутался чота, не соображу как эта схема работает
Схема БИК-01
Всех сведующих прошу скинуть принципиальную схему блока извлечения корня, сиречь БИК-01. гугл не помог(
Что за схема ???
Здравствуйте.Я занимаюсь перемоткой статоров. Дали обмотку с непонятной схемой соединения выводов такого еще не встречал...
Щиток в дом и схема!
Доброй ночи!
После того как собрал щит учета на участок
занялся схемой для домового щита.
Вот изобразил схемку
Заземление по...
sergey_sav
Лидер тех. поддержки
Генеральный директор
Сообщений: 4303
Зарегистрирован: 04 июн 2007, 17:10 Возраст: 58
Имя: Сергей
Пол: Мужской
Откуда: Санкт-Петербург
Разрешение экрана: 378x537 Благодарил (а): 26 раз
Поблагодарили: 394 раза
Сообщение sergey_sav » 12 мар 2014, 20:38
sergey_sav
vasp Автор темы
Участник
Сообщений: 16
Зарегистрирован: 12 мар 2014, 11:27 Возраст: 22
Имя: Александр
Пол: Мужской
Откуда: Краснодар
Разрешение экрана: 1280x1024 Благодарил (а): 7 раз
Сообщение vasp » 12 мар 2014, 20:46
sergey_sav писал(а): Схема включения счётчика через ТТ, посмотрите тут
Ссылка нужная но я просил указать на недостатки составления самой схемы.
vasp
sergey_sav
Лидер тех. поддержки
Генеральный директор
Сообщений: 4303
Зарегистрирован: 04 июн 2007, 17:10 Возраст: 58
Имя: Сергей
Пол: Мужской
Откуда: Санкт-Петербург
Разрешение экрана: 378x537 Благодарил (а): 26 раз
Поблагодарили: 394 раза
Сообщение sergey_sav » 12 мар 2014, 20:53
Поэтому ссылку и дал, чтобы не забыли про ИКК.
sergey_sav
electrohoz
Почётный член клуба
Старший энергетик
Сообщений: 1381
Зарегистрирован: 27 апр 2013, 13:15 Возраст: 35
Имя: Владимир
Профессия: Инженер
Пол: Мужской
Откуда: Красногорск
Разрешение экрана: 1366x768 Благодарил (а): 373 раза
Поблагодарили: 259 раз
Сообщение electrohoz » 12 мар 2014, 20:57
vasp писал(а): я просил указать на недостатки составления самой схемы
Недостатки, вам укажут в энергоснабжающей организации!
Мозг состоит на 80 процентов из жидкости, и мало того, что она тормозная, так многим еще конкретно не долили... Все тематические вопросы и ответы на них, только на форуме! В личку по электрике не отвечаю
electrohoz
sergey_sav
Лидер тех. поддержки
Генеральный директор
Сообщений: 4303
Зарегистрирован: 04 июн 2007, 17:10 Возраст: 58
Имя: Сергей
Пол: Мужской
Откуда: Санкт-Петербург
Разрешение экрана: 378x537 Благодарил (а): 26 раз
Поблагодарили: 394 раза
Сообщение sergey_sav » 12 мар 2014, 20:59
sergey_sav
Anatoliy
Гуру тех. поддержки
Главный энергетик
Сообщений: 2581
Зарегистрирован: 06 янв 2010, 10:57 Возраст: 59
Имя: Анатолий
Профессия: Пенсионер
Пол: Мужской
Откуда: Украина. Киев
Разрешение экрана: 1280x1024 Благодарил (а): 25 раз
Поблагодарили: 404 раза
Сообщение Anatoliy » 12 мар 2014, 21:26
А зачем там стоят трансформаторы тока, неужели у вас мощность такова что не позволяет поставить счетчик прямого включения.
Все тематические вопросы и ответы на них, только на форуме! В личку по электрике не отвечаю.
Anatoliy
vasp Автор темы
Участник
Сообщений: 16
Зарегистрирован: 12 мар 2014, 11:27 Возраст: 22
Имя: Александр
Пол: Мужской
Откуда: Краснодар
Разрешение экрана: 1280x1024 Благодарил (а): 7 раз
Сообщение vasp » 12 мар 2014, 21:46
Anatoliy писал(а): А зачем там стоят трансформаторы тока, неужели у вас мощность такова что не позволяет поставить счетчик прямого включения.
Скажу сразу проект будет потом, а пока подгатавливаюсь так сказать прогреваю инструмент, нагрузка будет 75 квт.
vasp
Anatoliy
Гуру тех. поддержки
Главный энергетик
Сообщений: 2581
Зарегистрирован: 06 янв 2010, 10:57 Возраст: 59
Имя: Анатолий
Профессия: Пенсионер
Пол: Мужской
Откуда: Украина. Киев
Разрешение экрана: 1280x1024 Благодарил (а): 25 раз
Поблагодарили: 404 раза
Сообщение Anatoliy » 12 мар 2014, 22:30
Что за объект
Все тематические вопросы и ответы на них, только на форуме! В личку по электрике не отвечаю.
Anatoliy
vasp Автор темы
Участник
Сообщений: 16
Зарегистрирован: 12 мар 2014, 11:27 Возраст: 22
Имя: Александр
Пол: Мужской
Откуда: Краснодар
Разрешение экрана: 1280x1024 Благодарил (а): 7 раз
Сообщение vasp » 13 мар 2014, 12:30
Anatoliy писал(а): Что за объект
Небольшой цех по производству комбикорма.
vasp
Строительная доска объявлений
Объявления на нашей доске просматриваются большим количеством посетителей, переходят из рук в руки и всегда имеют хороший отклик.
Рекомендуемый контент
Ещё страницы сайта »
Что это за схема? Вложения
Dee » 14 май 2011, 11:26 » в форуме
Схемы по электрике
Вот тут недавно отыскал одну схему, но не могу понять что на ней показано:
Вроде как сеть питания(защищенная термореле) + сеть...
12
1530
Looking
14 июн 2011, 23:30
Схема ЩАП
Pukin » 19 янв 2011, 23:06 » в форуме
Схемы по электрике
Господа, помогите разобраться со схемой ЩАП-12 (однофазный, рисунок слева). .Запутался чота, не соображу как эта схема работает
2
634
Pukin
19 янв 2011, 23:26
0
942
СетХеор
05 апр 2016, 10:41
9
3418
Vladislav
19 окт 2009, 11:33
51
9509
nikola
11 май 2013, 17:47
Вернуться в «Схемы по электрике»
Кто на форуме
Сейчас этот форум просматривают: archive.org_bot и 3 гостя
Copyright © Форум по электрике и электричеству «Электрический Дом» 2005 - 2017
Создано на основе
phpBB ® Forum Software © phpBB Limited
Time: 0.458s |
Queries: 54 | Peak Memory Usage: 8.15 МБ
Дата запуска форума: 21.11.2005. Версия 3.1.10.