ФОРУМ ПО ЭЛЕКТРИКЕ И ЭЛЕКТРИЧЕСТВУ


Полная версия ВходРегистрация

ПоискБлагодарностиФото-галерея
Видео электриковFAQ



Пред. тема | След. тема
Страница 1 из 1 [ Сообщений: 15 ]

Начать новую тему Ответить

Версия для печати

Устройство плавного пуска ABB

Устройство плавного пуска ABB

Не в сети - Новенький

Профиль  ICQ 
02 дек 2009, 16:40 Сообщение
Есть опыт эксплуатации устройств плавного пуска типа ABB PSR 25?
Н асколько плавный пуск обеспечивается?
хочу применить для асс двиг. 11 кВт 0.4 кВ 1500об/мин.
имеет ли смысл использовать его как дешевую замену частотного преобразователя?
Ответить с цитатой 



Не в сети - Электрик

Профиль 
06 дек 2009, 08:22 Сообщение
Опыта эксплуатации устройств плавного пуска типа ABB PSR 25 нет, я проектировщик и как проектировщик могу дать следующие советы.

На сколько плавный пуск обеспечивается?
Если речь идет об общем количестве пусков за весь срок службы, то это очень много и такой показатель ни одна фирма не дает.
Если речь идет о частоте пусков (количестве пусков за 1 час), то все будет зависить от режима пуска (пусковой ток 2, 3 Iн), инерционности механизма (время пуска), характеристики механизма (вентилятор или др.) и прочее.

Имеет ли смысл использовать его как дешевую замену частотного преобразователя?
На мой взгляд это делать не желательно.
Во-первых как задавать скорость ( вход для задания скорости есть ?).
Во-вторых режим работы двигателя и потери энергии вас устроят (характер регулирования скорости здесь иной чем в частотном преобразователе).
vw_rtfm
Ответить с цитатой 



Не в сети - Заглянувший

Профиль  ICQ 
07 апр 2010, 21:57 Сообщение
Dryu как испытал ABB PSR 25
Тоже очень нужен плавный пуск!
Возможно ли его сборка простейшего в дом условиях? Очень нужна схема!
А то цены колються, а по сути все они обладают кучей ненужных функций(как жк дисплей плавный стоп и тп) или может кто знает модель(в пределах 150-250$) на 11Квт 0.4 Кв 3000 об/мин количество запусков за час 30-50 :-)
Ответить с цитатой 



Не в сети - Почётный член клуба

Профиль 
08 апр 2010, 19:51 Сообщение
двигатель у вас сколько скоростей имеет. сколько выводов на клемнике.это пока два основных вопроса.
Ответить с цитатой 



Не в сети - Участник

Профиль 
17 апр 2010, 04:28 Сообщение
Тема актуальна - для меня точно . Интересуюсь возможностью плавного пуска глубиного насоса .
Ответить с цитатой 



Не в сети - Заслуженный член клуба

Профиль 
17 апр 2010, 08:50 Сообщение
какова мощность насоса?
Ответить с цитатой 



Не в сети - Участник

Профиль 
17 апр 2010, 18:10 Сообщение
Мощность насоса /их 3/ 11КВт . При включении гидроудар в системе , думаю плавный пуск поможет .
Ответить с цитатой 



В сети - Председатель клуба

Профиль  WWW 
17 апр 2010, 18:13 Сообщение
А гидроакумулятор? У меня так.
Ответить с цитатой 



Не в сети - Почётный член клуба

Профиль 
17 апр 2010, 20:16 Сообщение
С амплитуднофазовым управлением
В регуляторе, схема которого показана на рис. 1, использованы два тринистора, открывающиеся один в положительный, а другой - в отрицательный полуперноды сетевого напряжения. Действующее напряжение на нагрузке Rн регулируют переменным резистором R3.


Рисунок 1 - Тиристорный регулятор напряжения

Регулятор работает следующим образом. В начале положительного полупериода (плюс на верхнем по схеме проводе) тринисторы закрыты. По мере увеличения сетевого напряжения конденсатор. С1 заряжается через резисторы R2 и R3. Увеличение напряжения на конденсаторе отстает (сдвигается по фазе) от сетевого на величину, зависящую от суммарного сопротивления резисторов R2 и R3 и емкости конденсатора С1. Заряд конденсатора продолжается до тех пор, пока напряжение на нем не достигнет порога открывания тринистора Д1. Когда тринистор откроется, через нагрузку Rн потечет ток, определяемый суммарным сопротивлением открытого тринистора и Rн. Тринистор Д1 остается открытым до конца полупериода. Подбором резистора R1 устанавливают желаемые пределы регулирования. При указанных на схеме номиналах резисторов и конденсаторов напряжение на нагрузке можно изменять в пределах 40- 220 В.

В течение отрицательного полупериода аналогично работает тринистор Д4. Однако, конденсатор С2, частично заряженный в течение положительного полупериода (через резисторы R4 и R5 и диод Д6), должен перезаряжаться, а значит и время задержки включения тринистора должно быть большим. Чем дольше был закрыт тринистор Д1 в течение положительного полупериода, тем большее напряжение будет на конденсаторе С2 к началу отрицательного и тем дольше будет закрыт тринистор Д4.

Синфазность работы тринисторов зависит от правильного подбора номиналов элементов R4, R5, С2. Мощность нагрузки может быть любой в пределах от 50 до 1000 Вт.я понимаю что у вас мощьность больше посмотрю где то есть и на большую мощьность только сразу прошу прощения если качество не ах плохо получается в русплане.

Вложения

Устройство плавного пуска ABB - t-peg-n1
Устройство плавного пуска ABB - t-peg-n1
[ 3.94 КБ | Просмотров: 3356 ]


Ответить с цитатой 



Не в сети - Почётный член клуба

Профиль 
17 апр 2010, 20:48 Сообщение
Схема включения двигателя с помощью тиристорного регулятора напряжения представлена на рис. . В регуляторе напряжения в каждый фазный провод включаются встречно-параллельно два тиристора, один из которых работает условно в положительный полупериод напряжения сети, а другой в отрицательный. Регулирование напряжения на выходе регулятора осуществляется изменением времени включения каждого тиристора относительно момента, когда ток должен переходить с одного из трех тиристоров на другой (базовая точка), путем подачи на тиристор управляющего импульса, что дает возможность изменять время протекания тока через тиристор в течение полупериода напряжения сети и напряжение на его выходе, подаваемое на нагрузку, в данном случае на двигатель. Это напряжение не является синусоидальным, и его можно представить как среднее напряжение, которое можно менять, изменяя продолжительность работы тиристора в течение

полупериода. Время включения тиристора относительно базовой точки выражается в градусах и называется углом регулирования [7]. Изменяя угол регулирования тиристоров, можно получить необходимое напряжение для плавного пуски двигателя. может кому поможет . это из книги автора кисаримова р.а справочник электрика.

Вложения

Устройство плавного пуска ABB - ris-2-1
Устройство плавного пуска ABB - ris-2-1
[ 2.78 КБ | Просмотров: 3349 ]


Ответить с цитатой 



Не в сети - Почётный член клуба

Профиль 
17 апр 2010, 20:58 Сообщение
вот еще схема может тоже кому нужна .Пуск при пониженном напряжении

Этот способ пуска применяется для двигателей средней и большой мощности при ограниченной мощности сети. Рассмотрим некоторые способы понижения напряжения при пуске.

Переключение обмотки статора двигателя с пусковой схемы звезда на рабочую схему треугольник

Для лучшего понимания способа пуска разберем схемы соединения обмоток двигателей и влияние этих схем на величину фазного напряжения двигателя при заданном линейном напряжении.

Обмотки двигателей могут соединяться звездой или треугольником. Тип соединения определяет соотношение между напряжением на зажимах двигателя и напряжением на фазах его обмотки, т. е. номинальным напряжением двигателя. Напряжение на зажимах двигателя измеряется между его зажимами и называется линейным, и на фазе обмотки — между ее началом и концом и называется фазным. Как известно, при соединении треугольником напряжения линейное и фазное равны, а при соединении звездой линейное напряжение больше фазного в 3^-0.5 раз.

Двигатель может иметь в коробке зажимов три или шесть концов. При наличии шести концов возможно соединение двигателя звездой или треугольником в зависимости от напряжения сети, к которой будет присоединяться двигатель, и его номинального напряжения.

Если номинальное напряжение двигателя 220 В, то при линейном напряжении сети 380 В его нужно соединять звездой, а при линейном напряжении сети 220 в — треугольником. При номинальном напряжении двигателя 380 В и линейном напряжении сети 380 В двигатель нужно соединять треугольником, а при линейном напряжении сети 660 В — звездой.



Если в коробке зажимов двигателя имеется три вывода обмоток с зажимами, то он имеет определенную схему соединения обмоток в зависимости от напряжения, на которое он рассчитан.

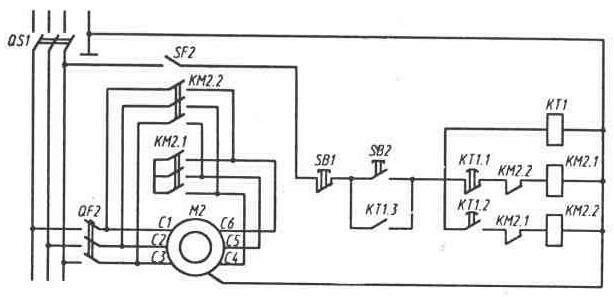
Схема пуска двигателя включением на пусковую схему звезда и с переключением на рабочую схему треугольник показана на рис.



Рис. Схема пуска трехфазного асинхронного электродвигателя включением на пусковую схему «звезда» и с переключением на рабочую схему «треугольник»:

SB1— кнопка КМЕ4201 (красная); SB2— кнопка КМЕ4201 (черная); КМ2.1, КМ2.2— пускатель ПМА-3100У4, 220 В; КТ1 — промежуточное реле РПЛ2204, 220 В, пневмоприставка ПВЛ1104; М2 — электродвигатель А02-72-2,30 кВт, 2910 об/мин;

QF2 —выключатель автоматический АЕ2046, 63 A; SF2 —выключатель автоматический А63, 4 A; QS1 —выключатель пакетный ПВЗ—100.

Перед пуском двигателя включаются выключатели QS1, QF2 и SF2. При нажатии на кнопку SB2 включается пускатель КМ2.1, соединяющий концы фазных обмоток двигателя в звезду. Одновременно включается реле времени КТ1, замыкая контакт КТ1.3, шунтирующий контакты кнопки SB2. С выдержкой времени, необходимой для разгона двигателя, отключается контакт КТ1.1 реле времени, отключая пускатель КМ2.1, и включается контакт КТ1.2, включающий пускатель КМ2.2, переключающий концы фазных обмоток двигателя на треугольник, и двигатель продолжает работать.

Так как при пуске двигателя при подключении по схеме звезда фазное напряжение обмотки уменьшается в 3^0.5 раз по

сравнению со схемой треугольник, то фазные токи также уменьшаются в 3^-0.5 раз, которые равны линейным токам при этой схеме. Но при схеме треугольник, являющейся рабочей в данном случае, фазные токи меньше линейных в 3^-0.5 раз, а при пусковой схеме звезда получается еще уменьшение фазных токов в 3^-0.5 раз, и в результате линейные токи, равные фазным при пусковой схеме звезда, уменьшаются в 3 раза.

После разгона двигателя обмотка его статора переключается на нормальную схему треугольник, поэтому схема пуска двигателя кратко называется схемой пуска переключением со звезды на треугольник.

Вложения

Устройство плавного пуска ABB - 2-10-211
Устройство плавного пуска ABB - 2-10-211
[ 25.3 КБ | Просмотров: 3390 ]


Ответить с цитатой 



Не в сети - Участник

Профиль 
17 апр 2010, 21:45 Сообщение
По поводу гидроаккумулятора не получится . В принципе все 3 насоса работают на одну общую водонапорную башню / тот же аккумулятор / но скважины расположены удаленно веером , общая связь только в башне . При пуске насоса трубы трещат и гремят будь здоров :-D хотелось бы смягчить запуск .
Ответить с цитатой 



В сети - Председатель клуба

Профиль  WWW 
17 апр 2010, 21:47 Сообщение
Понятно.
Ответить с цитатой 



Не в сети - Участник

Профиль 
16 май 2010, 21:32 Сообщение
chuvak.iz писал(а)
По поводу гидроаккумулятора не получится . В принципе все 3 насоса работают на одну общую водонапорную башню / тот же аккумулятор / но скважины расположены удаленно веером , общая связь только в башне . При пуске насоса трубы трещат и гремят будь здоров :-D хотелось бы смягчить запуск .

Работал водяным по совмещению, мощность двигателей до 130 кВт, сотни метров труб разного диаметра. Никаких преобразователей и тем более устройств ПП не было, трубы не трещали. Имею наглость посоветовать проверить крепление двигателя и насоса, фундамент на отсутствие трещин (да и на хлипкость), прокладку труб без напряжений и резких поворотов. Если очень невмоготу- берите двигло с фазным ротором :F

Гидравлический удар
Материал из Википедии — свободной энциклопедии

Гидравли́ческий уда́р (гидроудар) — скачок давления в какой-либо системе, заполненной жидкостью, вызванный крайне быстрым изменением скорости потока этой жидкости за очень малый промежуток времени. Гидравлический удар способен вызывать образование продольных трещин в трубах, что может привести к их расколу, или повреждать другие элементы трубопровода. Также гидроудары чрезвычайно опасны и для другого оборудования, такого как теплообменники, насосы и сосуды, работающие под давлением. Для предотвращения гидроударов, вызванных резкой переменой направления потока рабочей среды, на трубопроводах устанавливаются обратные клапаны.
Способы предотвращения возникновения гидравлических ударов
Исходя из формулы Жуковского (определяющей увеличение давления при гидроударе) и величин, от которых зависит скорость распространения ударной волны, для ослабления силы этого явления или его полного предотвращения можно уменьшить скорость движения жидкости в трубопроводе, увеличив его диаметр.
Для ослабления силы этого явления следует увеличивать время закрытия затвора
Установка демпфирующих устройств
Примеры

Наиболее простым примером возникновения гидравлического удара является пример трубопровода с постоянным напором и установившимся движением жидкости, в котором была резко перекрыта задвижка или закрыт клапан.

В скважинных системах водоснабжения гидроудар, как правило, возникает, когда ближайший к насосу обратный клапан расположен выше статического уровня воды более, чем на 9 метров, или ближайший к насосу обратный клапан имеет утечку, в то время как расположенный выше следующий обратный клапан держит давление.

В обоих случаях в стояке возникает частичное разрежение. При следующем пуске насоса вода, протекающая с очень большой скоростью, заполняет вакуум и соударяется в трубопроводе с закрытым обратным клапаном и столбом жидкости над ним, вызывая скачок давления и гидравлический удар. Такой гидравлический удар способен вызвать образование трещин в трубах, разрушить трубные соединения и повредить насос и/или электродвигатель.

Гидроудар может возникать в системах объёмного гидропривода, в которых используется золотниковый гидрораспределитель. В момент перекрытия золотником одного из каналов, по которым нагнетается жидкость, этот канал на короткое время оказывается перекрытым, что влечёт за собой возникновение явлений, описанных выше.
Ответить с цитатой 



Не в сети - Участник

Профиль 
16 май 2010, 22:59 Сообщение
Прочитал , за совет спасибо . Завтра же все стрелки /наезды/ на электриков переведу на инженеров и мастера участка , путь репы чешут .
Ответить с цитатой 

Начать новую тему  Ответить
Вернуться к началу


Страница 1 из 1 [ Сообщений: 15 ]
Пред. тема | След. тема

Сейчас эту тему просматривают: нет зарегистрированных пользователей и гости 1






Найти
Перейти
 


Полная версия

Рейтинг-каталог строительных сайтов - Electric House