-
- Объявления
|
Электромонтаж Электромонтажные работы в деревянном доме. www.electric-house.ru |
Местная Конституция | FAQ - Часто задаваемые вопросы | Для новичков! | Реклама на форуме! | Публикация сообщений | Как вставить картинку или файл
Прежде чем задать вопрос, воспользуйтесь поиском - возможно, что такая тема уже есть на форуме. За нарушение правил Ваш вопрос может быть удален без объяснения причин!
-
- Сообщение
Радиоуправляемый выключатель 220В
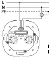
Хочу поставить радио выключатель, но не могу разобраться как это сделать правильно.
Схема во вложении.
На люстру идет 3 провода под двухклавишный выключатель.
Я не силен в электрике, не понимаю ситуацию по схеме с нулем, когда и где его нужно подключать?
- Вложения
-

- Радиоуправляемый выключатель 220В - Безымянный
(10.64 КБ) Просмотров: 1553
-
- Сообщение
- sergey_sav







- Лидер тех. поддержки

- Технический директор

- Прогресс звания:
-
- Заслуженная репутация: 161 +50 / -0

















Re: Радиоуправляемый выключатель 220В
При подключении один из проводов в выключателе и один из проводов в потолке не используется и изолируется.
Остаётся только подключить как на схеме: к выключателю фаза и один отходящий к люстре, на потолке к люстре подключить ноль и один приходящий с выключателя.
Все тематические вопросы и ответы на них только на форуме!
Санк-Петербург. Электромонтажные работы.
-
- Сообщение
Re: Радиоуправляемый выключатель 220В
Раньше я завидовал тем, кто получал больше меня. Теперь я завидую тем, кто ходит на работу с удовольствием
-
- Сообщение
Re: Радиоуправляемый выключатель 220В
Так вот ноль именно на люстре подрубать или можно у выключателя каким то образом и как этот ноль подсоединить, к какому проводу?
-
- Сообщение
Re: Радиоуправляемый выключатель 220В
-
- Сообщение
Re: Радиоуправляемый выключатель 220В
VinZ писал(а):шнурочно-дергательный
Случайно размером не 10см на 5см(примерно) в белом корпусе? Не древний случайно?

Раньше я завидовал тем, кто получал больше меня. Теперь я завидую тем, кто ходит на работу с удовольствием
-
- Сообщение
-
- Сообщение
-
- Сообщение
- sergey_sav







- Лидер тех. поддержки

- Технический директор

- Прогресс звания:
-
- Заслуженная репутация: 161 +50 / -0

















Re: Радиоуправляемый выключатель 220В
VinZ писал(а):На выключатель идет L и N
Все тематические вопросы и ответы на них только на форуме!
Санк-Петербург. Электромонтажные работы.
-
- Сообщение
- sergey_sav







- Лидер тех. поддержки

- Технический директор

- Прогресс звания:
-
- Заслуженная репутация: 161 +50 / -0

















Re: Радиоуправляемый выключатель 220В
Все тематические вопросы и ответы на них только на форуме!
Санк-Петербург. Электромонтажные работы.
-
- Сообщение
Re: Радиоуправляемый выключатель 220В
-
- Сообщение
Re: Радиоуправляемый выключатель 220В
sergey_sav писал(а):кроме случая исполнения проводки без распаячных коробок
Коробка выключателя в верхней части имеет круглый профиль - это вместо распаечной коробки. Попадался как-то такой в военном городке
Раньше я завидовал тем, кто получал больше меня. Теперь я завидую тем, кто ходит на работу с удовольствием
-
- Сообщение
- sergey_sav







- Лидер тех. поддержки

- Технический директор

- Прогресс звания:
-
- Заслуженная репутация: 161 +50 / -0

















Re: Радиоуправляемый выключатель 220В
VinZ писал(а):без распаячной коробки, к выключателю идет два пучка.
Со вторым выключателем поступить аналогично.
Все тематические вопросы и ответы на них только на форуме!
Санк-Петербург. Электромонтажные работы.
-
- Сообщение
-
- Сообщение
- sergey_sav







- Лидер тех. поддержки

- Технический директор

- Прогресс звания:
-
- Заслуженная репутация: 161 +50 / -0

















Re: Радиоуправляемый выключатель 220В
- Вложения
Все тематические вопросы и ответы на них только на форуме!
Санк-Петербург. Электромонтажные работы.
-
- Сообщение
-
- Сообщение
Re: Радиоуправляемый выключатель 220В
VinZ писал(а):;;1): Я живу в военном городке
Похоже, что в советское время всем военным одну и ту же хрень ставили. А еще, небось, половина проводов(розеточная группа) в полу проложена и розетки низко. В общем, sergey_sav вам правильно отписал.
Раньше я завидовал тем, кто получал больше меня. Теперь я завидую тем, кто ходит на работу с удовольствием
-
- Сообщение
- sergey_sav







- Лидер тех. поддержки

- Технический директор

- Прогресс звания:
-
- Заслуженная репутация: 161 +50 / -0

















Re: Радиоуправляемый выключатель 220В
VinZ писал(а):А фазу надо раздваивать на фторой выключатель?
Обязательно
Все тематические вопросы и ответы на них только на форуме!
Санк-Петербург. Электромонтажные работы.
-
- Сообщение
Re: Радиоуправляемый выключатель 220В
-
- Сообщение
Re: Радиоуправляемый выключатель 220В
Раньше я завидовал тем, кто получал больше меня. Теперь я завидую тем, кто ходит на работу с удовольствием
-
- Ссылки на тему
| Ссылка: | |
| BBcode: | |
| HTML: |
-
- Похожие темы
- Ответы
- Просмотры
- Последнее сообщение
-
-
Как переделать таль ТЭ025-31100-23У2 380в на 220в.
biqo-445 в форуме Электрооборудование, электротехника - 1
- 187
-
slavapril
29 июн 2014, 12:47
-
Как переделать таль ТЭ025-31100-23У2 380в на 220в.
-
-
Подключение 3х фазного двигателя 380в в однофазную сеть 220в
1, 2 Кузя в форуме Электрооборудование, электротехника - 32
- 14544
-
Morigan
17 май 2013, 20:05
-
Подключение 3х фазного двигателя 380в в однофазную сеть 220в
-
-
Разводка 380В на три линии по 220В в бытовой комнате
elektrick в форуме Электромонтаж в нежилых помещениях - 3
- 1234
-
sergey_sav
27 янв 2013, 22:10
-
Разводка 380В на три линии по 220В в бытовой комнате
-
-
Как подключить оборудование 220В к силовой розетке
Aleksey_MB в форуме Электрооборудование, электротехника - 6
- 553
-
СетХеор
21 июл 2013, 04:24
-
Как подключить оборудование 220В к силовой розетке
-
-
Подключение дачного домика к сети 220В.
Samovar в форуме Электромонтаж на даче, коттедже, бане - 3
- 1985
-
Samovar
31 июл 2010, 10:02
-
Подключение дачного домика к сети 220В.
-
- Объявления
Вернуться в Электромонтаж в квартире
Кто на форуме
Всего посетителей: 1, из них зарегистрированных: 0, скрытых: 0 и гостей: 1 (основано на активности пользователей за последние 10 минут)
Больше всего посетителей (279) здесь было 04 сен 2013, 15:45
Сейчас эту тему просматривают: нет зарегистрированных пользователей и гости 1
Права доступа
Вы не можете начинать темы
Вы не можете отвечать на сообщения
Вы не можете редактировать свои сообщения
Вы не можете удалять свои сообщения
Вы не можете добавлять вложения
Легенда
| Новые сообщения | Нет новых сообщений | Форум закрыт | |||
| Подфорум Новые сообщения | Подфорум Нет новых сообщений | Ссылка на форум |
-
- Объявления
|
phpBB® Forum Software © phpBB Group
Русская поддержка phpBB Связь с администрацией Администраторский раздел |
|


Загрузка. Подождите...



















