Прежде чем задать вопрос, воспользуйтесь поиском - возможно, что такая тема уже есть на форуме. За нарушение правил Ваш вопрос может быть удален без объяснения причин!
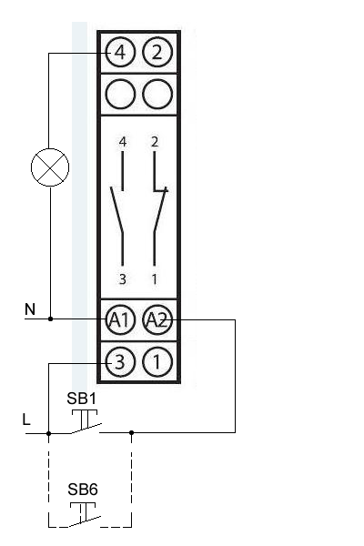
На реле должно быть обозначение контактов. Из рисунка, думаю, понятно, что есть что. Алгоритм работы такой: а/б/а/б. То есть при первой кратковременной подаче напряжения сработает группа контактов а (т.е. 1 и 2). При второй подаче - группа б (т.е. 3 и 4) и так по кругу. Для управления используется кнопка с нормально открытыми контактами, то есть по типу кнопки для звонка.
Учиться никогда не поздно Раньше я завидовал тем, кто получал больше меня. Теперь я завидую тем, кто ходит на работу с удовольствием
slavapril Нет ни каких обозначений на реле. И не пойму как делать. Пожалуйста, можно как для чайника. Наглядно, если взять реле, например, правая верхняя клема это что? И т.д.
Не знаю как Е256-1, а Е256-230 у меня расписан в справочнике как на рисунке. Два пустых зажима оставлены под серию Е266С для подключения центральных выключателей. Хотя никто вам не мешает(обращаюсь к автору вопроса) прозвонить обмотку и хотя бы нормально замкнутые контакты. Производитель ведь всегда оставляет за собою право что-то изменить.
контакты
контакты - E256-230 (100.57 КБ) Просмотров: 893
Учиться никогда не поздно Раньше я завидовал тем, кто получал больше меня. Теперь я завидую тем, кто ходит на работу с удовольствием
Прозвонить омметром (тестером). Но если не умеете, лучше попросите того, кто может. Потому как, если мы перепутаем обмотку с замкнутыми контактами и подадим 220В - сами понимаете ба-бах
Учиться никогда не поздно Раньше я завидовал тем, кто получал больше меня. Теперь я завидую тем, кто ходит на работу с удовольствием
Но вы должны учесть, что при первом нажатии на любую кнопку лампа, как и положено, включится. При втором нажатии на любую кнопку она останется гореть, так как сработают контакты 1 и 2. И только при третьем нажатии сработают снова 3 и 4. При четвертом снова 1 и 2. И так через раз. Поэтому алгорим работы реле и описывается как а/б/а/б, где а - это 3 и 4, а б - это 1 и 2 или наоборот - это неважно. Удобно ли так пользоваться будет, то бишь лишний раз нажимать?
Учиться никогда не поздно Раньше я завидовал тем, кто получал больше меня. Теперь я завидую тем, кто ходит на работу с удовольствием
slavapril писал(а):Поэтому алгорим работы реле и описывается как а/б/а/б...
А не говорит ли это о поочерёдном замкнутом состоянии контактов? Поочерёдное срабатывание у Е255 описывается как: а/а+б/б/0 (и в каталоге есть фраза о контактах - "2 последовательных"). Впрочем, опыт - наилучшее решение для поиска истины...
Всего посетителей: 1, из них зарегистрированных: 1, скрытых: 0 и гостей: 0 (основано на активности пользователей за последние 10 минут) Больше всего посетителей (279) здесь было 04 сен 2013, 16:45
Сейчас эту тему просматривают: archive.org_bot и гости 0